When you need reliable earth retention and waterproofing solutions for your construction projects, GB/T 20933-2021 Hot Rolled Z Sheet Pile delivers exceptional performance and versatility.
These high-strength steel sheet heaps are made concurring to China's most recent national standard, guaranteeing prevalent quality and auxiliary astuteness for requesting applications. Our Z-shaped sheet heaps offer amazing double usefulness, serving as both load-bearing components and waterproof obstructions in one coordinates system.
You'll discover these sheet heaps idealize for profound unearthings, marine structures, and underground development ventures. The item gives exceptional space utilization with its thin-walled plan whereas keeping up identical solidness to bulkier options. Whether you're working on transitory or lasting establishments, these heaps offer surprising reusability and cost-effectiveness for your projects.
Our fabricating prepare takes after strict quality controls, utilizing premium steel grades counting Q295P, Q355P, Q390P, Q420P, and Q460P. Each heap highlights exact interlocking associations that make nonstop, fixed holding dividers for viable drainage prevention.

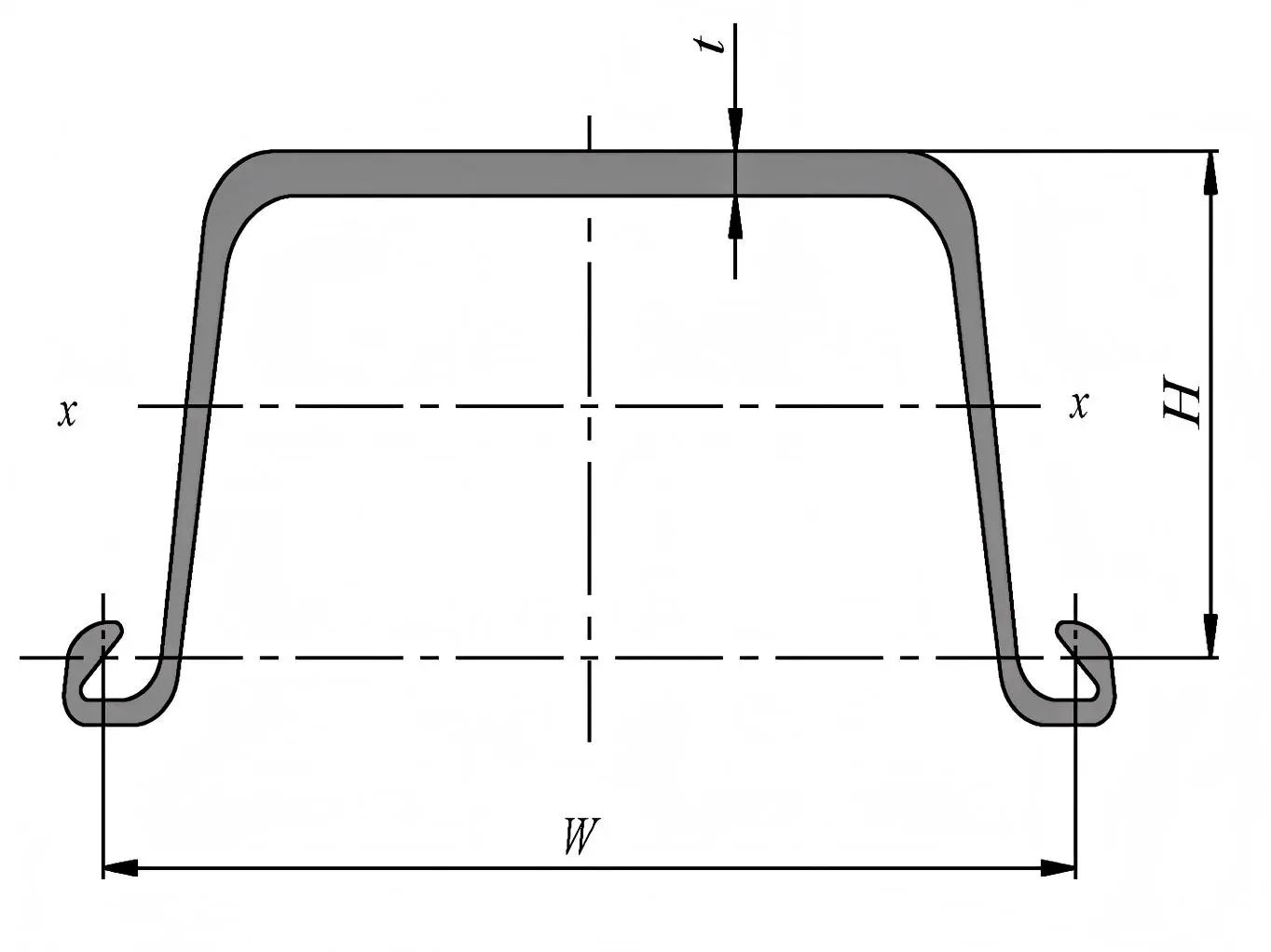
| Model | Width (mm) | Height (mm) | Wall Thickness (mm) | Weight (kg/m) | Section Modulus (cm³/m) |
|---|---|---|---|---|---|
| U400×125 | 400 | 125 | 8.5-15.5 | 62-98 | 780-1250 |
| U400×150 | 400 | 150 | 9.5-16.5 | 68-108 | 950-1580 |
| U400×170 | 400 | 170 | 10.5-18.0 | 75-125 | 1180-1950 |
| U500×150 | 500 | 150 | 11.0-18.0 | 85-135 | 1200-1980 |
| U500×200 | 500 | 200 | 12.0-20.0 | 95-155 | 1580-2650 |

| Model | Width (mm) | Height (mm) | Wall Thickness (mm) | Weight (kg/m) | Section Modulus (cm³/m) |
|---|---|---|---|---|---|
| Z400×125 | 400 | 125 | 8.5-15.5 | 58-92 | 720-1180 |
| Z400×150 | 400 | 150 | 9.5-16.5 | 65-102 | 880-1480 |
| Z500×180 | 500 | 180 | 11.0-18.5 | 88-142 | 1350-2250 |
| Z600×200 | 600 | 200 | 12.5-20.0 | 118-185 | 1880-3100 |
| Z700×250 | 700 | 250 | 14.0-22.0 | 148-228 | 2650-4200 |
| Property | Specification |
|---|---|
| Standard | GB/T 20933-2021 |
| Material Grades | Q295P, Q355P, Q390P, Q420P, Q460P |
| Yield Strength | 295-460 MPa |
| Tensile Strength | 420-550 MPa |
| Elongation | ≥20% |
| Manufacturing Process | Hot Rolling |
| Interlock Type | Larsen/Hoesch Compatible |
| Length Range | 6-24 meters |
| Surface Treatment | Hot-dip Galvanized (Optional) |

COATING SERVICE
Sheet piles, often made of steel, are key structural components used in retaining walls, flood defenses, and marine projects. However, they face corrosion risks from moisture, soil chemicals, and saltwater, which can weaken them over time. To protect against this, various coatings are applied to the steel surface.
Corrosion Protection Options:
· Hot-dip galvanizing
· Epoxy coating
· Bitumen coating
· Marine-grade treatments1396

Deep Excavation Support: Your urban development projects benefit from our sheet piles' exceptional earth retention capabilities. They provide reliable support for basement construction and underground parking facilities.
Marine Structures: Coastal and port projects require robust waterproofing solutions. Our GB/T 20933-2021 Hot Rolled Z Sheet Pile systems excel in marine environments with proper corrosion protection.
Bridge Establishments: Interstate and railroad bridge ventures depend on our heaps for transitory cofferdams and changeless projection protection.
Flood Control: Waterway administration and surge anticipation ventures utilize these heaps for viable water maintenance and bank stabilization.
Industrial Applications: Fabricating offices and distribution centers advantage from the speedy establishment and prompt load-bearing capacity our heaps provide.
Integrated Manufacturing Excellence: As part of Tianjin Xinyue Steel Group, we bring over 40 years of steel manufacturing expertise to every project. You receive products backed by decades of industry knowledge and continuous innovation.
Comprehensive Arrangement Supplier: We do not fair supply materials – we convey total turnkey arrangements. From beginning plan discussion to on-site building bolster, our group guarantees your venture success.
Global Reach with Nearby Back: Our worldwide nearness incorporates workplaces and stockrooms in UAE and Dubai, empowering quicker conveyance and localized benefit for your ventures worldwide.
Quality Assurance: Our "BUILD TO THE LAST" philosophy ensures every GB/T 20933-2021 Hot Rolled Z Sheet Pile meets stringent quality standards for long-term performance and reliability.
Advanced Coating Advances: We offer hot-dip galvanizing and specialized anti-corrosion medicines to expand benefit life in challenging environments.
Flexible Customization: Our designing group works with you to create custom fitted arrangements that meet your particular venture prerequisites and location conditions.
Q: What's the difference between U and Z sheet piles?
A: Z-shaped piles offer better section modulus and are preferred for higher load applications, while U-shaped piles provide excellent versatility for standard earth retention projects.
Q: Can these piles be reused?
A: Yes, our sheet piles are designed for multiple extraction and reuse cycles, making them cost-effective for temporary applications.
Q: What installation methods are recommended?
A: Vibratory driving and static pressing are the most common methods. We provide technical guidance for optimal installation procedures.
Q: How do I select the right pile size?
A: Selection depends on soil conditions, excavation depth, and load requirements. Our engineering team can assist with pile selection and design calculations.
Q: What corrosion protection options are available?
A: We offer hot-dip galvanizing, epoxy coatings, and specialized marine-grade treatments depending on your environmental conditions.
Ready to discuss your sheet pile requirements? Contact our technical team at sales@hypile.com for expert consultation and competitive pricing on GB/T 20933-2021 Hot Rolled Z Sheet Pile solutions.
Have a project in mind? Tell us your goals — we’ll help you make it real.