Looking for reliable foundation solutions for your infrastructure project? GB/T 20933-2021 Hot Rolled U Sheet Pile offers exceptional structural performance and earth retention capabilities. These Chinese manufactured sheet piles deliver superior waterproofing while maintaining high load-bearing capacity. With proven durability and cost-effectiveness, our sheet pile systems provide the perfect balance of strength and functionality for your construction needs.
Our item frameworks combine basic back with viable water maintenance in one coordinates arrangement. You get prompt divider arrangement upon establishment, disposing of long curing times required by conventional concrete alternatives.
These sheet heaps highlight interlocking associations that make ceaseless, fixed boundaries. The thin-walled, high-strength plan maximizes your usable space whereas conveying proportionate solidness to bulkier choices. For transitory applications, you can extricate and reuse these heaps numerous times, altogether lessening venture costs.
Available materials incorporate Q295P, Q355P, Q390P, Q420P, and Q460P grades, guaranteeing you discover the right quality detail for your particular application requirements.

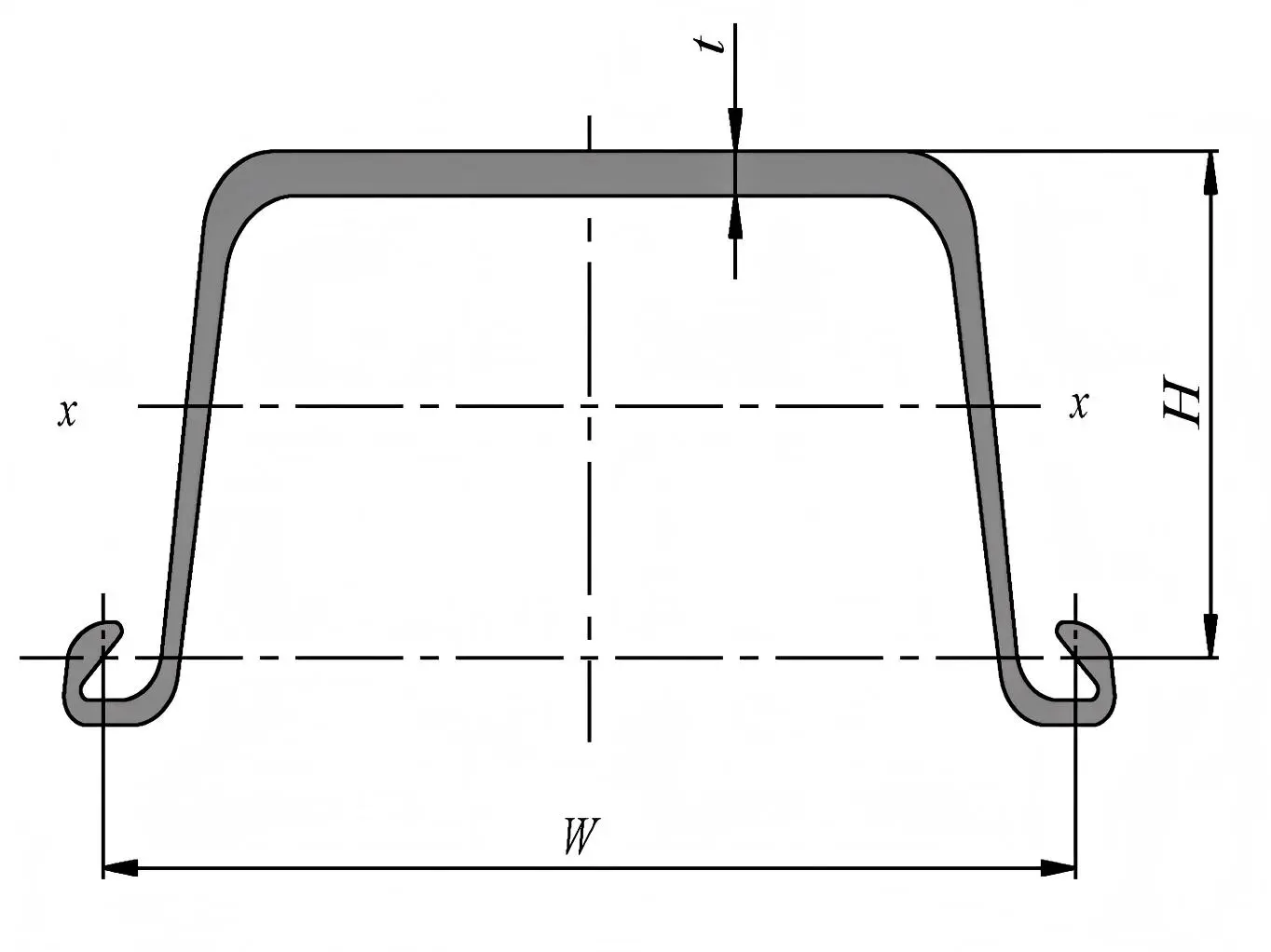
| Section | Width (mm) | Height (mm) | Wall Thickness (mm) | Weight (kg/m) | Section Modulus (cm³/m) |
|---|---|---|---|---|---|
| U12-250 | 400 | 120 | 8.0 | 38.5 | 160 |
| U14-320 | 400 | 140 | 8.5 | 42.8 | 210 |
| U16-400 | 400 | 160 | 9.0 | 47.2 | 270 |
| U18-500 | 400 | 180 | 9.5 | 51.6 | 340 |
| U20-600 | 400 | 200 | 10.0 | 56.1 | 420 |
| U22-700 | 400 | 220 | 10.5 | 60.5 | 510 |

| Section | Width (mm) | Height (mm) | Wall Thickness (mm) | Weight (kg/m) | Section Modulus (cm³/m) |
|---|---|---|---|---|---|
| Z12-250 | 400 | 120 | 8.0 | 35.2 | 145 |
| Z14-320 | 400 | 140 | 8.5 | 39.1 | 190 |
| Z16-400 | 400 | 160 | 9.0 | 43.0 | 245 |
| Z18-500 | 400 | 180 | 9.5 | 46.9 | 310 |
| Z20-600 | 400 | 200 | 10.0 | 50.8 | 380 |
| Z22-700 | 400 | 220 | 10.5 | 54.7 | 460 |
| Property | Specification |
|---|---|
| Standard | GB/T 20933-2021 |
| Material Grades | Q295P, Q355P, Q390P, Q420P, Q460P |
| Yield Strength | 295-460 MPa (depending on grade) |
| Installation Method | Vibratory hammer, static pressing |
| Interlock Type | Continuous interlocking system |
| Surface Treatment | Hot-dip galvanizing, anti-corrosion coating |
| Length Range | 6-18 meters (customizable) |
| Operating Temperature | -40°C to +60°C |

COATING SERVICE
Sheet piles, often made of steel, are key structural components used in retaining walls, flood defenses, and marine projects. However, they face corrosion risks from moisture, soil chemicals, and saltwater, which can weaken them over time. To protect against this, various coatings are applied to the steel surface.
Hot-Dip Galvanization
Epoxy Coatings
Non-Metallic Coatings
Duplex Coating Systems
Project Gallery & Applications
Our sheet heap frameworks exceed expectations in differing development scenarios:
Marine and Harbour Framework: Wharf dividers, wharfs, and harbor development where water maintenance and basic quality are critical.
Deep Uncovering Back: Underground stopping carports, storm cellar development, and tram frameworks requiring dependable soil retention.
River and Coastal Assurance: Bank stabilization, surge control obstructions, and disintegration avoidance projects.
Industrial Applications: Control dividers for capacity offices, natural security obstructions, and establishment systems.
Temporary Works: Development dewatering, cofferdams, and transitory holding dividers with full reusability potential.
The GB/T 20933-2021 Hot Rolled U Sheet Pile adapts to complex geotechnical conditions while maintaining consistent performance across various soil types and loading conditions.

Complete Turnkey Solutions: We handle everything from manufacturing to on-site engineering support, ensuring seamless project execution.
Proven Manufacturing Excellence: Backed by Tianjin Xinyue Steel Group's 40+ years of steel manufacturing expertise and global project experience.
Customization Capabilities: Our engineering team designs tailored solutions for your specific project requirements and site conditions.
Quality Assurance: Following our "BUILD TO THE LAST" philosophy, every product meets stringent quality standards for long-term durability.
Global Benefit Arrange: With abroad workplaces and stockrooms, counting UAE and Dubai, we convey speedier benefit and localized support.
Advanced Surface Security: Our galvanizing and anti-corrosion coating advances amplify benefit life in unforgiving marine situations.
Q: What's the typical lifespan of your sheet piles?
A: With proper surface treatment, our sheet piles last 50+ years in standard conditions and 25+ years in marine environments.
Q: Can I reuse these sheet piles for multiple projects?
A: Yes, our product systems are designed for extraction and reuse, typically achieving 3-5 reuse cycles.
Q: What installation equipment do I need?
A: Vibratory hammers or static pressing equipment work effectively. We can recommend specific equipment based on your soil conditions.
Q: Do you provide installation guidance?
A: Absolutely. Our engineering team offers technical support, installation guidance, and on-site assistance when needed.
Q: What's your typical delivery timeframe?
A: Standard products ship within 15-20 days. Custom specifications may require 25-30 days depending on complexity.
Ready to discuss your foundation engineering needs, including GB/T 20933-2021 Hot Rolled U Sheet Pile? Contact our expert team at sales@hypile.com for detailed specifications and project consultation.
Have a project in mind? Tell us your goals — we’ll help you make it real.